Generator Hartleya


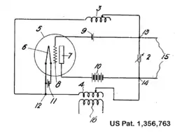
Generator Hartleya, zwany też generatorem z dzieloną indukcyjnością – elektroniczny generator drgań typu LC, z pętlą dodatniego sprzężenia zwrotnego zrealizowaną za pomocą równoległego połączenia cewki z odczepami i kondensatora (obwód drgający). Dodatnie sprzężenie wzmacniacza dołączone jest do odczepu cewki. Czasem można również zrezygnować z kondensatora, jego funkcję (w wersji tranzystorowej) pełni wtedy pojemność złącza tranzystora wzmacniającego. Spotyka się również bardziej rozbudowane generatory tego typu. Układ (w wersji lampowej) został wynaleziony przez Ralpha Hartleya w 1915 roku.
Zalety
- Zmiana częstotliwości za pomocą trymera (kondensator nastawny)
- Amplituda sygnału wyjściowego pozostaje stała w szerokim zakresie częstotliwości
Wady
- Stosunkowo duża zawartość częstotliwości harmonicznych na wyjściu układu
- Nie tworzy czystego przebiegu sinusoidalnego
Bibliografia
- (Pr. zbior.), Poradnik Inżyniera Radioelektryka, WN-T, Warszawa 1969