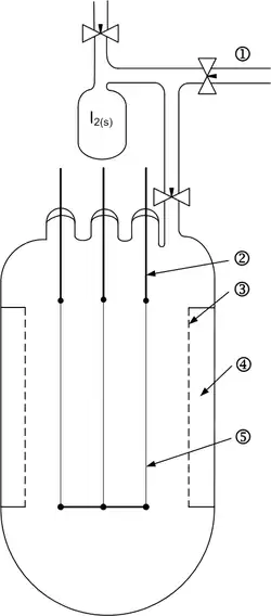
Proces van Arkela-de Boera

(2) – 6 mm elektroda molibdenowa
(3) – siatka molibdenowa
(4) – komora na surowiec
(5) – drut wolframowy
Proces van Arkela-de Boera (znany też jako proces jodkowy lub proces pręta kryształu) – pierwszy przemysłowy proces otrzymywania czystego cyrkonu, opracowany przez Antona van Arkela i Jana de Boera w 1925 roku[1]. Jest używany w produkcji niewielkich ilości niektórych metali o najwyższej czystości[2]. Jego podstawowym schematem jest przekształcenie oczyszczanego metalu w lotny jodek, który jest izolowany i rozkładany termicznie do czystego metalu[3]. Jedynymi metalami oczyszczanymi w tym procesie na skalę przemysłową były tytan, cyrkon i hafn, można go też wykorzystać do oczyszczania wanadu, toru lub protaktynu. Proces został wyparty w przemyśle przez proces Krolla i jest stosowany obecnie na znacznie mniejszą skalę.
Technologia
Zanieczyszczony metal ogrzewa się w naczyniu próżniowym z jodem (lub innym fluorowcem) w temperaturze ok. 500 °C[3]. Powstające jodki, np. TiI4 lub ZrI4, ulatniają się pozostawiając zanieczyszczenia w stanie stałym[3]. Przy ciśnieniu atmosferycznym TiI4 topi się w 155 °C, a wrze w 377 °C, podczas gdy ZrI4 topi się w 499 °C (punkt potrójny), a w 431 °C sublimuje[4]. Temperatury wrzenia są niższe przy mniejszych ciśnieniach. Gazowy tetrajodek metalu jest rozkładany na rozgrzanym do białości (1200 °C) włóknie wolframowym[3]. W miarę jak coraz więcej metalu odkłada się, włókno zaczyna lepiej przewodzić prąd, przez co wymagane jest coraz więcej prądu do utrzymania wysokiej temperatury włókna. Proces oczyszczania opisują dwa równania:
- Me(surowiec) + 2I2(gazowy) → MeI4(gazowy)
- MeI4(gazowy) → Me(czysty) + 2I2(gazowy)
Do wytworzenia nowych porcji jodków używa się jod wydzielony w powyższej reakcji[3].
Podstawą efektywności procesu są następujące czynniki[2]:
- zanieczyszczenia międzywęzłowe, takie jak tlen, węgiel lub azot, występują w surowym materiale w postaci tlenków, węglików i azotków, które nie reagują z jodem
- niektóre z powstających jodków metali zanieczyszczających są na tyle stabilne termicznie, że nie ulegają rozkładowi na rozgrzanym włóknie
- wiele zanieczyszczeń jest na tyle lotnych, że jeśli nawet ulegają transportowi w postaci jodku i rozpadowi termicznemu na włóknie, to pozostają w fazie gazowej i nie odkładają się z produktem
- tworzenie jodków różnych metali wymaga różnych temperatur, np. jodek cyrkonu powstaje w ok. 300 °C, a jodek niobu w 400 °C, co umożliwia znaczące obniżenie zawartości niobu w oczyszczonym cyrkonie (z 2,5% do ok. 1‰)
Proces van Arkela-de Boera jest natomiast mało efektywny w usuwaniu np. hafnu i krzemu, które mają wyższe współczynniki transportu[2].
W zależności od warunków, proces może trwać od kilku godzin do kilku tygodni.

Proces jodkowy. Me oznacza metal
Galeria
Przykłady kilku metali oczyszczonych za pomocą tego procesu:
Przypisy
- ↑ A.E. van Arkel, J.H. de Boer. Darstellung von reinem Titanium-, Zirkonium-, Hafnium- und Thoriummetall. „Zeitschrift für anorganische und allgemeine Chemie”. 148 (1), s. 345–350, 1925. DOI: 10.1002/zaac.19251480133. (niem.).
- 1 2 3 R.H. Rakhasia, P.K Triphathy. Zirconium crystal bar from Zr-2,5Nb alloy scrap by iodide refining. „BARC newsletter”, maj 2005. BARC. (ang.).
- 1 2 3 4 5 Adam Bielański: Podstawy chemii nieorganicznej. Wyd. 5. T. 2. Warszawa: Wydawnictwo Naukowe PWN, 2007, s. 866. ISBN 978-83-01-13817-2.
- ↑ Physical Constants of Inorganic Compounds, [w:] David R. Lide (red.), CRC Handbook of Chemistry and Physics, wyd. 90, Boca Raton: CRC Press, 2009, s. 4–96, 4–101, ISBN 978-1-4200-9084-0 (ang.).

