Rudolf Gundlach (inżynier)
| Data i miejsce urodzenia |
28 marca 1892 |
|---|---|
| Data i miejsce śmierci |
4 lipca 1957 |
| Przebieg służby | |
| Siły zbrojne | |
| Główne wojny i bitwy | |
| Odznaczenia | |

Rudolf Gundlach (ur. 28 marca 1892 w Wiskitkach k. Żyrardowa, zm. 4 lipca 1957 w Colombes k. Paryża[1]) – major broni pancernych Wojska Polskiego, inżynier, konstruktor broni pancernej, wynalazca.
Życiorys
Urodził się w rodzinie pastora Rudolfa Gundlacha i Wandy Pauliny z Manitiusów[2]. Absolwent Politechniki Ryskiej, gdzie należał do polskiej korporacji akademickiej Welecja. W styczniu 1925 roku, po „ukończeniu odkomenderowania na studia powrócił do oddziału macierzystego” – 4 Dywizjonu Samochodowego w Łodzi, z jednoczesnym odkomenderowaniem do Wydziału Samochodowego Departamentu VI Wojsk Technicznych Ministerstwa Spraw Wojskowych[3][4].
18 lutego 1930 awansował na kapitana ze starszeństwem z 1 stycznia 1930 i 1. lokatą w korpusie oficerów samochodowych[5]. W 1932 pełnił służbę w Wojskowym Instytucie Badań Inżynieryjnych w Warszawie. Na stopień majora awansował ze starszeństwem z 19 marca 1937 i 11. lokatą w korpusie oficerów broni pancernych[5][6].
W marcu 1939 pełnił służbę w Biura Badań Technicznych Broni Pancernych w Warszawie na stanowisku kierownika Wydziału Projektów i Konstrukcji[7]. W 1929 był głównym projektantem samochodu pancernego wz.29, następnie nadzorował także prace nad innymi pojazdami, w tym czołgiem 7TP i prototypem czołgu 10TP. W latach 1938–1939 był też członkiem Komitetu Redakcyjnego „Przeglądu Wojsk Pancernych”.
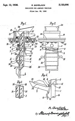
Jego najbardziej znanym wynalazkiem był czołgowy peryskop odwracalny z 1934, znany także jako peryskop odwracalny Gundlacha.
Po klęsce wrześniowej w 1939 roku przedostał się przez Rumunię do Francji – tam pozostał przez cały czas wojny. Po wojnie i długim procesie sądowym, w roku 1947 uzyskał z tytułu sprzedaży patentu wysokie wynagrodzenie, co pozwoliło na kupno fermy we Francji pod Paryżem, gdzie pozostał do końca życia.
Ordery i odznaczenia
- Srebrny Krzyż Zasługi – 30 listopada 1929 „za zasługi na polu rozwoju przemysłu wojennego”[8]
- Odznaka „Znak Pancerny” – honorowo 11 listopada 1933[9]
Przypisy
- ↑ Gundlach Rudolf, [w:] Encyklopedia PWN [online], Wydawnictwo Naukowe PWN [dostęp 2021-09-19].
- ↑ Rudolf Gundlach [online], Sejm-Wielki.pl [dostęp 2021-09-19].
- ↑ Dz. Pers. MSWojsk. ↓, Nr 4 z 14 stycznia 1925, s. 20.
- ↑ Rocznik Oficerski 1924 ↓, s. 920, 930.
- 1 2 Rybka i Stepan 2021 ↓, s. 428.
- ↑ Rybka i Stepan 2006 ↓, s. 232, w marcu 1939 zajmował 10. lokatę w korpusie oficerów broni pancernych (grupa liniowa).
- ↑ Rybka i Stepan 2006 ↓, s. 499.
- ↑ M.P. z 1929 r. nr 290, poz. 680.
- ↑ Dz. Pers. MSWojsk. ↓, Nr 13 z 11 listopada 1933, s. 298.
Bibliografia
- Dziennik Personalny Ministerstwa Spraw Wojskowych. [dostęp 2022-01-19].
- Spis oficerów służących czynnie w dniu 1.6.1921 r.. Ministerstwo Spraw Wojskowych, 1921.
- Lista starszeństwa oficerów zawodowych. Warszawa: Ministerstwo Spraw Wojskowych, 1922.
- Rocznik Oficerski 1923. Warszawa: Ministerstwo Spraw Wojskowych, 1923.
- Rocznik Oficerski 1924. Warszawa: Ministerstwo Spraw Wojskowych, 1924.
- Rocznik Oficerski 1928. Warszawa: Ministerstwo Spraw Wojskowych, 1928.
- Rocznik Oficerski 1932. Warszawa: Ministerstwo Spraw Wojskowych, 1932.
- Grzegorz Łukomski and Rafał E. Stolarski, Nie tylko Enigma... Mjr Rudolf Gundlach (1892–1957) i jego wynalazek (Not Only Enigma... Major Rudolf Gundlach (1892–1957) and His Invention), Warsaw-London, 1999.
- Ryszard Rybka, Kamil Stepan: Rocznik oficerski 1939. Stan na dzień 23 marca 1939. Kraków: Fundacja CDCN, 2006. ISBN 978-83-7188-899-1.
- Ryszard Rybka, Kamil Stepan: Awanse oficerskie w Wojsku Polskim 1935–1939. Wyd. 2 poszerzone. Warszawa: Wydawnictwo Tetragon Sp. z o.o., 2021. ISBN 978-83-66687-09-7.