Sprzęgło kłowe

Sprzęgło kłowe – sprzęgło przenoszące moment w wyniku zazębienia czołowo uzębionych tarcz dociskanych sprężyną.
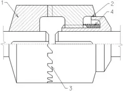
W sprzęgle tym dwie tuleje tworzące człon czynny (1) i bierny (2) zazębiają się. Człon bierny ma swobodę przesuwania się w kierunku wzdłużnym wału będąc połączony z nim wielowypustowo. Zęby obu tarcz (3) dociskane są osiowo za pomocą sprężyny (4).
W zależności od kąta nachylenia bocznych powierzchni zębów do osi wałków, sprzęgło może pracować jako:
- sprzęgło sztywne - oba kąty nachylenia są mniejsze od kąta tarcia
- sprzęgło przeciążeniowe - oba kąty nachylenia są większe od kąta tarcia
- sprzęgło jednokierunkowe - jeden z kątów jest mniejszy a drugi większy od kąta tarcia
- sprzęgło rozłączalne - włączane w spoczynku, gdy jest możliwość rozsunięcia tarcz.