Sprzęgło kołnierzowe

Sprzęgło kołnierzowe, sprzęgło tarczowe stałe – znormalizowane sprzęgło przymusowe, sztywne, stałe.

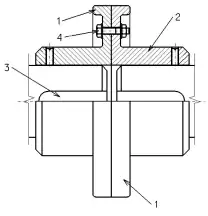
Człon czynny i bierny są kolistymi tarczami (1), których piasty (2) osadzone są na wałach za pomocą połączenia wpustowego (3). Oba człony połączone są sztywno śrubami (4) rozmieszczonymi na obwodzie. Śruby są dokręcone tak, by między tarczami powstało połączenie cierne wystarczające do przeniesienia obciążenia. W celu zapewnienia współosiowego ustawienia tarcz (kołnierzy) sprzęgła wykonuje się wytoczenia środkujące na płaszczyznach czołowych.