Sprzęgło oponowe

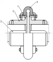
Sprzęgło oponowe[1] – sprzęgło przymusowe, kompensacyjne, stałe. Człon czynny i bierny są kolistymi tarczami (1), których piasty (2) zamontowane są na wałach przy użyciu połączenia wpustowego (3). Oba człony połączone są za pomocą gumowej opony (4). Guma może absorbować drgania powstające na wale napędowym oraz w pewnym zakresie kompensować obciążenia dynamiczne w czasie rozruchu i hamowania.
Linki zewnętrzne
Przypisy
- ↑ Hamulce szczękowe - tarczowe - sprzęgła elastyczne - podatne - przeciążeniowe - Fena.pl. [dostęp 2010-07-05]. [zarchiwizowane z tego adresu (2011-11-01)].