Sprzęgło palcowe

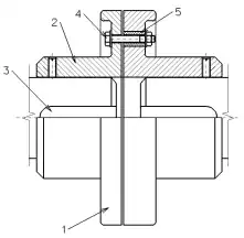
Sprzęgło palcowe – sprzęgło przymusowe, kompensacyjne, stałe. Człon czynny i bierny są kolistymi tarczami (1), których piasty (2) zamontowane są na wałach przy użyciu połączenia wpustowego (3). Oba człony połączone są za pomocą śrub (4). W jednej z tarcz śruby osadzone są w gumowych tulejach (5). Guma może absorbować drgania powstające na wale napędowym oraz w pewnym zakresie kompensować obciążenia dynamiczne w czasie rozruchu i hamowania.