Transformacja (geometria wykreślna)
Transformacja – sposób sprowadzenia obiektu w rzucie prostokątnym do szczególnego położenia w celu pomiarów wymiarów obiektu lub też np. uzyskania możliwości wykonania przekroju bryły poprzez ustawienie płaszczyzny tnącej w położeniu szczególnym. Transformację wykonuje się poprzez wyznaczenie dodatkowych rzutni prostopadłych lub równoległych do danego obiektu. Oznacza to, że jest to metoda pośrednia, więc obarczona relatywnie dużym błędem kreślarskim w stosunku do metod bezpośrednich czyli w tym wypadku kładu[1].
Przykłady transformacji
Transformacja prostej
Dana jest prosta a oraz punkt P. Należy wykreślić punkt S symetryczny do punktu P względem prostej a.

W tym celu należy przeprowadzić transformację prostej przy użyciu osi x1, którą umiejscawia się równolegle do rzutu transformowanej prostej (w tym wypadku rzutu poziomego a'). Następnie należy przyjąć dwa dowolne punkty (w tym wypadku 1 i 2) przynależne do prostej a. Z punktów 1' i 2' wystawia się odnoszące prostopadłe do osi x1. Na trzeciej rzutni mają one długość równą wysokości punktów 1 i 2 (współrzędnej ukazanej na drugiej rzutni). Przez wyznaczone punkty 1''' i 2''' prowadzi się trzeci rzut prostej. Analogicznie jak punkty 1 i 2 przenosi się na trzecią rzutnię punkt P'. Z punktu P''' następnie wystawia się prostą prostopadłą do rzutu prostej a'''. Na przecięciu tych dwóch prostych można wyznaczyć punkt R''', który można odnieść na rzutnie pierwszą i drugą za pomocą odnoszących i przynależności do prostej a. Następnie mając rzuty punktu R''' można wyznaczyć punkt S taki, że |R'''S'''|=|P'''R'''| Następnie można wyznaczyć pozostałe rzuty punktu R, leżące na przecięciu odnoszącej i prostej określonej przez punkty P i R. Można też zrobić to każdorazowo odkładając odległość |PR| na poszczególnych rzutach, ten sposób charakteryzuje się jednak stosunkowo małą dokładnością[2].
Transformacja płaszczyzny
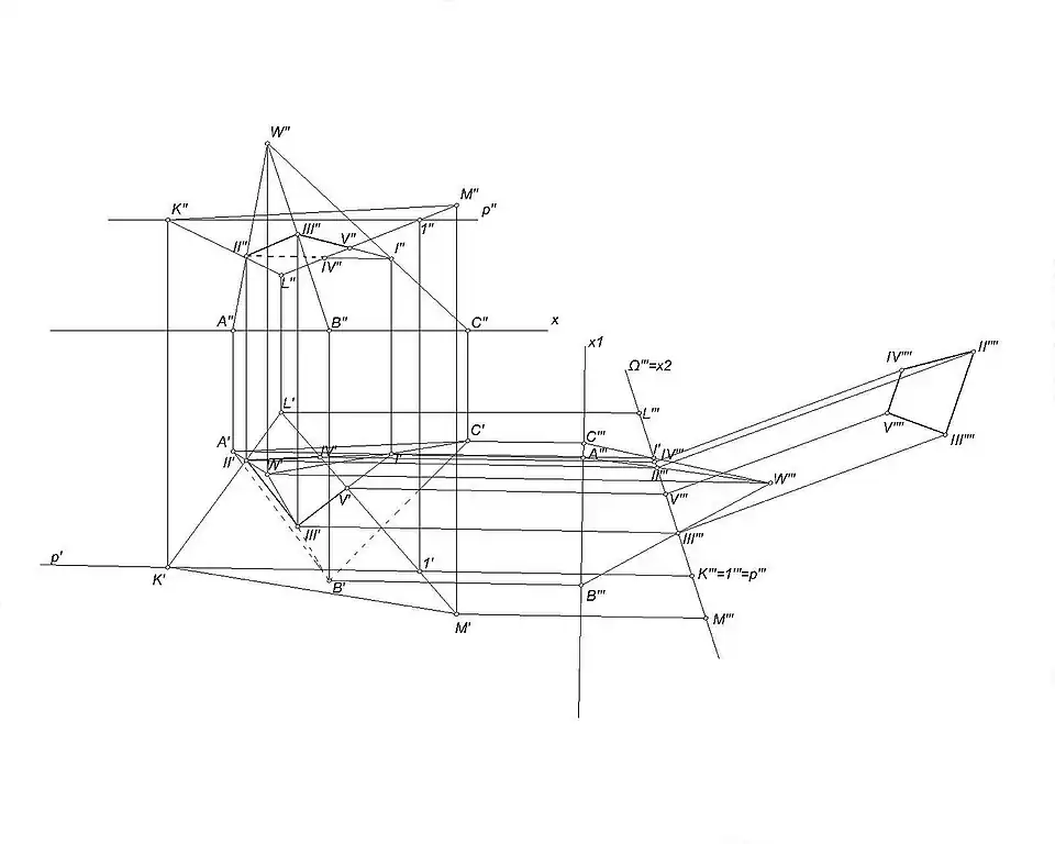
Dane są rzuty ostrosłupa ABCW i trójkąta KLM. Należy wyznaczyć przekrój ostrosłupa trójkątem oraz jego wielkość.
.jpg)
W tym celu należy poprowadzić prostą poziomą pnależącą do płaszczyzny trójkąta (prosta należy o płaszczyzny, gdy posiada co najmniej 2 punkty wspólne z tą płaszczyzną). Następnie na rzucie poziomym wyznacza się oś x1 prostopadłą do rzutu p'. Utworzona zostaje w ten sposób trzecia rzutnia prostopadła do płaszczyzny trójkąta KLM. trzecie rzuty ostrosłupa i trójkąta uzyskuje się odnosząc na trzecią rzutnię ich wysokości. Płaszczyzna trójkąta jest reprezentowana w tym rzucie przez prostą, co oznacza, że można wyznaczyć jednoznacznie punkty przecięcia jej z ostrosłupem. Krawędź przecięcia wyznaczają zatem punkty I''', II''', III'''. Następnie wyznaczone punkty przenosi się na rzutnie pierwszą i drugą za pomocą odnoszących (punkty są przynależne do krawędzi ostrosłupa). Należy przy tym zauważyć, że punkt I znajduje się poza trójkątem KLM. Oznacza to, że linia przekroju nie będzie wyrażona tylko przez punkty I, II, III, ale także przez punkty IV i V wyznaczone na przecięciu odcinka LM i płaszczyzny trójkąta I,II,III w rzucie poziomym. Należy przy tym nadmienić, że niedozwolone jest wyznaczanie punktów IV'' i V'' za pomocą odnoszących z rzutu poziomego, gdyż wywołuje to błędy kreślarskie.
Mając wykreślone rzuty można przystąpić do drugiej części zagadnienia czyli wyznaczenia wielkości przekroju. W tym celu należy przenieść punkty IV i V na trzecią rzutnię oraz wyznaczyć czwartą rzutnię określoną przez prostą x2 równoległą do płaszczyzny trójkąta KLM (ozn. Ω). Dla minimalizacji błędów kreślarskich rzutnia jest na rysunku tożsama z tą płaszczyzną. Następnie wystawia się z punktów przekroju na rzutni trzeciej odnoszące prostopadłe do osi x2 o długości równej odległości punktów na rzutni poziomej od osi x1. Otrzymana figura będzie w tym wypadku równoległa do rzutni (zgodnie z założeniem, że każda następna użyta rzutnia jest prostopadła do poprzedniej), co oznacza, że zachowuje ona wszystkie swoje wymiary. Należy przy tym nadmienić, że sposób z wykorzystaniem czwartej rzutni jest obarczony dużym błędem kreślarskim i zamiast niego zaleca się stosować kład boczny płaszczyzny[3].
Łatwo zauważyć, że zagadnienie to uwydatnia kolejną wadę transformacji czyli dość znaczny rozrost rysunku w bok, który może być bardzo niekorzystny przy pracy na kartce. Dla porównania zastosowanie kładu płaszczyzny wywołuje z kolei rozrost rysunku w dół[4].
Bibliografia
- Bieliński Andrzej, Geometria wykreślna, OWPW, nr ISBN 83-7207-564-6