Zblocze


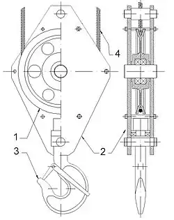
Zblocze – element urządzenia dźwigowego żurawia, cięgnika lub suwnicy służący do zaczepiania ładunku poprzez zawiesie, rzadziej bezpośrednio.
Zblocze złożone jest z krążka linowego, jarzma i ułożyskowanego haka, który może być jednorożny, dwurożny lub czterorożny. Całość zawieszona jest na linie nośnej.
W zbloczu o dużym udźwigu może być zabudowanych wiele krążków linowych, ze względu na zastosowanie wielu cieńszych lin nośnych. Cieńsze liny nośne pozwalają ograniczyć średnicę krążków i w efekcie wielkość i masę całego zblocza oraz wykorzystać zasadę wielokrążka.