Krwiak nadtwardówkowy
| haematoma epidurale | |
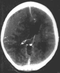
![]() Nieurazowy krwiak nadtwardówkowy u młodej kobiety. Szary obszar w górnej lewej części to organizujący się krwiak powodujący przesunięcie linii środkowej oraz uciśnięcie komór | |
| Klasyfikacje | |
| DiseasesDB | |
|---|---|
| MedlinePlus | |
| MeSH | |
Krwiak nadtwardówkowy (łac. haematoma epidurale, ang. extradural haematoma, epidural haematoma) – nagromadzenie wynaczynionej krwi pomiędzy kością czaszki lub kręgosłupa a oponą twardą.
Epidemiologia
Krwiak nadtwardówkowy powstaje jako powikłanie 1-3% wszystkich urazów czaszkowo-mózgowych[1] i 10% ciężkich urazów.
Etiologia
Najczęściej krwiak powstaje wskutek rozerwania naczyń oponowych, najczęściej tętnicy oponowej środkowej. Rzadziej źródłem krwawienia są żyły oponowe, zatoki opony twardej i żyły śródkostne.
Objawy i przebieg
Bezpośrednio po urazie pacjenci są najczęściej nieprzytomni. Charakterystycznym (ale nie patognomonicznym) objawem jest trwające kilka minut-kilka godzin przejaśnienie świadomości (przerwa jasna, łac. intervallum lucidum). Narastaniu krwiaka towarzyszyć mogą takie objawy, jak:
- poszerzenie źrenicy po stronie krwiaka
- objawy połowicze
- objawy ucisku na pień mózgu
- objawy zespołu nadciśnienia wewnątrzczaszkowego
- śpiączka mózgowa.
Badania obrazowe
Badaniem z wyboru przy podejrzeniu krwiaka nadtwardówkowego jest tomografia komputerowa. W TK widoczny jest krwiak o soczewkowatym kształcie i niekiedy szczelina złamania kości.
Rozpoznanie
Rozpoznanie stawiane jest na podstawie badania TK. W części przypadków gdy rozpoznanie budzi wątpliwości, wymagana jest weryfikacja śródoperacyjna diagnozy.
Leczenie
Krwiak nadtwardówkowy wymaga natychmiastowej interwencji neurochirurgicznej, mającej na celu odbarczenie krwiaka. W przypadku dobrego stanu chorego i grubości krwiaka mniejszej niż 15 mm oraz przesunięciu struktur linii środkowej o mniej niż 5 mm można rozważyć obserwację i leczenie zachowawcze. Dotyczy to około 60% krwiaków nadtwardówkowych. Gdy objawy są jednoznaczne i (lub) narastają gwałtownie, trepanacja nie musi być poprzedzona badaniem neuroobrazowym.
Kraniotomia osteoplastyczna jest bardziej skomplikowaną i obciążającą procedurą, umożliwiającą jednak ewakuację krwiaka, zmniejszenie ciśnienia śródczaszkowego, i właściwą kontrolę miejsca (miejsc) krwotoku. Krwawienia żylne są skutecznie leczone trepanacją z drenażem.
Rokowanie
Rokowanie, o ile odpowiednio wcześnie odbarczono chirurgicznie krwiak, jest dobre. Gdy efekt masy spowoduje wgłobienie mózgu, rokowanie jest złe.
Klasyfikacja ICD10
| kod ICD10 | nazwa choroby |
|---|---|
| ICD-10: I62.1 | NIEURAZOWY KRWOTOK NAD OPONĄ TWARDĄ |
| ICD-10: S06.4 | KRWOTOK NADTWARDÓWKOWY |
Zobacz też
Przypisy
Bibliografia
- Choroby wewnętrzne. Tom II. Andrzej Szczeklik (red.). Kraków: Wydawnictwo Medycyna Praktyczna, 2006, s. 1964-1965. ISBN 83-7430-069-8.
- Neurologia. Podręcznik dla studentów medycyny. Wojciech Kozubski, Paweł P. Liberski (red.). Warszawa: Wydawnictwo Lekarskie PZWL, 2006. ISBN 83-200-3244-X.
- Choroby układu nerwowego. Wojciech Kozubski, Paweł P. Liberski (red.). Warszawa: Wydawnictwo Lekarskie PZWL, 2004, s. 200-201. ISBN 83-200-2636-9.
Przeczytaj ostrzeżenie dotyczące informacji medycznych i pokrewnych zamieszczonych w Wikipedii.
