Suszenie rozpyłowe
Suszenie rozpyłowe, inaczej rozpryskowe, jest metodą odwadniania produktów w postaci roztworu lub koloidalnym (zawiesin) do postaci proszku.
Historia
Rozwój metody suszenia rozpyłowego rozpoczął się w latach siedemdziesiątych XIX w. Ze względu na niedoskonałości pierwszych urządzeń w początkowym okresie proces ten nie był praktycznie wykorzystywany w przemyśle. Zastosowanie suszenia rozpyłowego na szeroką skalę w przemyśle spożywczym rozpoczęło się w drugiej dekadzie XX wieku. Pierwszym produktem wytwarzanym masowo tą metodą było mleko w proszku.
W ciągu kilkudziesięciu kolejnych lat zastosowania objęły wytwarzanie kolejnych produktów. Do jeszcze szybszego rozwoju technologicznego metody przyczyniła się II wojna światowa, kiedy to ze względów logistycznych dużego znaczenia nabrało minimalizowanie kosztów transportu oraz zwiększanie trwałości produktów. W latach 1938–1944 opracowano metodę produkcji pierwszej kawy rozpuszczalnej na świecie. Obecnie suszenie rozpyłowe jest stosowane w wielu gałęziach przemysłu, od chemicznego, poprzez przemysł farmaceutyczny i biotechnologiczny, aż do przetwórstwa żywności, w którym jest to najbardziej rozpowszechniony sposób suszenia żywności płynnej[1].
Przebieg procesu

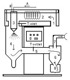
Polega na rozpyleniu płynnego produktu w komorze suszarni, przez którą przepływa jednocześnie gorący czynnik suszący (powietrze lub gaz obojętny w temperaturze około 130–240 °C), powodując gwałtowne odparowanie rozpuszczalnika z kropel (mgły), które w ten sposób zamieniają się w drobiny proszku opadającego na dno komory. Metoda ta należy do grupy konwekcyjnych metod suszenia. Charakteryzuje się stosunkowo niskim (np. w porównaniu do liofilizacji) nakładem energetycznym i jest łatwa do wykorzystania na dużą skalę, w procesach ciągłych. Powszechnie stosowana w wielu branżach przemysłu, w tym w przemyśle spożywczym do otrzymywania produktów takich, jak mleko w proszku czy kawa rozpuszczalna (instant) oraz wielu półproduktów, jak również w przemyśle chemicznym i kosmetycznym.
Stosowana jest także w farmacji do suszenia wyciągów (ekstraktów). Jej produktem jest wyciąg rozpyłowy (łac. extractum nebulisatum)[2].
Tak wielka popularność suszenia rozpyłowego wynika z tego, że jest to:
- jedna z niewielu metod pozwalająca na uzyskanie sproszkowanego produktu z surowca w postaci płynnej, pasty, emulsji itp.;
- metoda niezwykle elastyczna, poprzez dobór odpowiednich parametrów procesu można otrzymać produkt o zadanych właściwościach (wielkość cząstek, wilgotność);
- skuteczna metoda do suszenia materiałów termolabilnych, pozwalająca, pod warunkiem doboru odpowiednich parametrów, na zachowanie aktywności biologicznej materiałów;
- metoda elastyczna pod względem wydajności – strumienie surowca mogą wynosić od kilku kg do kilku ton/h[1].