Wał korbowy



Wał korbowy (lub wał wykorbiony) – rodzaj wału, posiadającego czopy przesunięte względem swojej osi[1]. Służy zwykle do zamiany ruchu posuwisto-zwrotnego na obrotowy, będąc elementem mechanizmu korbowego[2].
Nazwy wał korbowy i wykorbiony stosowane bywają zamiennie[3], lecz podawanym kryterium podziału jest posiadanie przez wał korb (wał korbowy) lub wykorbień (wał wykorbiony)[4]. Zwyczajowo wałem korbowym nazywa się wał będący częścią silnika tłokowego, sprężarki tłokowej i podobnych im urządzeń.
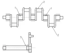
W budowie wału korbowego wyróżnić można czopy główne(1), leżące w osi łożysk wału i o trochę mniejszym przekroju czopy korbowe(2), oddalone od tej osi[2].
Najczęściej spotykane są stalowe wały kute, rzadziej stosuje się odlewane wały żeliwne (żeliwo sferoidalne lub perlityczne)[2]. Wały korbowe odkuwane są ze stali węglowej bądź rzadziej ze stali stopowej[2]. Kształt wału zależy głównie od układu i liczby cylindrów i kolejności zapłonu.
Budowa wału korbowego
- Czopy główne
- Czopy korbowe
- Przeciwciężar
- Tarcza koła zamachowego
- Ramię wykorbienia – łączące czopy
Wał korbowy silnika spalinowego jest drążony, wewnątrz pod ciśnieniem jest tłoczony olej silnikowy smarujący panewki stopy korbowodu oraz czopy główne wału[2]. W przypadku silnika dwusuwowego smarowanego mieszankowo, wał korbowy jest pełny i dzielony celem montażu łożysk tocznych przy czopach głównych i korbowych. Wały silników wysokoprężnych dwusuwowych są wykonane podobnie jak wały silników czterosuwowych (drążone). Wały silników największych (zob. silnik wodzikowy) są wykonywane z oddzielnych elementów i łączone poprzez tarcie na specjalnych prasach o dużej sile nacisku.
Na zakończeniu wału korbowego osadzane bywają elementy takie jak: koła zębate pompy oleju, napędu rozrządu, koła zamachowego, itd[2].
Technologia produkcji
Wały korbowe produkuje się z wykorzystaniem specjalistycznych pras kuźniczych do metalu. Do lat 60. wykorzystywano metodę francuską tzw. metodę RR. W 1961 roku polski wynalazca Tadeusz Rut z Centralnego Laboratorium Obróbki Plastycznej w Poznaniu opracował wydajniejszą technologię metodę TR[5].
Przypisy
- ↑ Zbigniew Dąbrowski: Wały Maszynowe. Warszawa: Wydawnictwo Naukowe PWN, 1999, s. 11, seria: Podstawy Konstrukcji Maszyn. ISBN 83-01-12816-X.
- 1 2 3 4 5 6 Jan Aleksander Wajand, Jan Tomasz Wajand: Tłokowe silniki spalinowe średnio- i szybkoobrotowe. Warszawa: Wydawnictwa Naukowo-Techniczne, 2005, s. 273-. ISBN 83-204-3054-2.
- ↑ Andrzej Dziurski (et al.): Przykłady obliczeń z podstaw konstrukcji maszyn. Eugeniusz Mazanek (red.). Wyd. 2. T. 1. Warszawa: Wydawnictwo Naukowe PWN, 2008, s. 415. ISBN 978-83-204-3418-7.
- ↑ Marek Bijak-Żochowski (et al.): Podstawy Konstrukcji Maszyn. Marek Dietrich (red.). Wyd. 3. T. 2. Warszawa: Wydawnictwo Naukowo-Techniczne, 1999, s. 455. ISBN 83-204-2345-7.
- ↑ Peryt 1969 ↓.
Bibliografia
- Antoni Peryt. "Metoda TR". „Młody Technik nr 11 1969”, s. 7-13, 1969. Warszawa.
- Piotr Zając: Silniki pojazdów samochodowych. Warszawa: Wydawnictwo Komunikacji i Łączności, 2009, s. 191-196. ISBN 978-83-206-1735-1.
Linki zewnętrzne
- Zdjęcie przedstawiające wał korbowy największego na świecie silnika wodzikowego Wärtsilä-Sulzer RTA96-C (14 cylindrów, 108900 KM])