Kwas siarkowy
| ||||||||||||||||||||||||||||||||||||||||||||||||||||
![]() | ||||||||||||||||||||||||||||||||||||||||||||||||||||
| ||||||||||||||||||||||||||||||||||||||||||||||||||||
| Ogólne informacje | ||||||||||||||||||||||||||||||||||||||||||||||||||||
| Wzór sumaryczny |
H2SO4 | |||||||||||||||||||||||||||||||||||||||||||||||||||
|---|---|---|---|---|---|---|---|---|---|---|---|---|---|---|---|---|---|---|---|---|---|---|---|---|---|---|---|---|---|---|---|---|---|---|---|---|---|---|---|---|---|---|---|---|---|---|---|---|---|---|---|---|
| Masa molowa |
98,08 g/mol | |||||||||||||||||||||||||||||||||||||||||||||||||||
| Wygląd | ||||||||||||||||||||||||||||||||||||||||||||||||||||
| Identyfikacja | ||||||||||||||||||||||||||||||||||||||||||||||||||||
| Numer CAS | ||||||||||||||||||||||||||||||||||||||||||||||||||||
| PubChem | ||||||||||||||||||||||||||||||||||||||||||||||||||||
| DrugBank | ||||||||||||||||||||||||||||||||||||||||||||||||||||
| ||||||||||||||||||||||||||||||||||||||||||||||||||||
| ||||||||||||||||||||||||||||||||||||||||||||||||||||
| ||||||||||||||||||||||||||||||||||||||||||||||||||||
| ||||||||||||||||||||||||||||||||||||||||||||||||||||
| Podobne związki | ||||||||||||||||||||||||||||||||||||||||||||||||||||
| Podobne związki | ||||||||||||||||||||||||||||||||||||||||||||||||||||
| Pochodne |
wodorosiarczany (HSO− | |||||||||||||||||||||||||||||||||||||||||||||||||||
| Jeżeli nie podano inaczej, dane dotyczą stanu standardowego (25 °C, 1000 hPa) | ||||||||||||||||||||||||||||||||||||||||||||||||||||
| Klasyfikacja medyczna | ||||||||||||||||||||||||||||||||||||||||||||||||||||
| Legalność w Polsce | ||||||||||||||||||||||||||||||||||||||||||||||||||||
Kwas siarkowy (nazwa Stocka: kwas siarkowy(VI)), H
2SO
4 – nieorganiczny związek chemiczny z grupy tlenowych kwasów siarki, jeden z najmocniejszych kwasów – wszystkie układy o mocy większej od kwasu siarkowego o stężeniu 100% nazywa się superkwasami. Bywa zwany krwią przemysłu chemicznego, ze względu na to, że używa się go w wielu kluczowych syntezach. Sole i estry kwasu siarkowego to wodorosiarczany (MI
HSO
4) i siarczany (MI
2SO
4).
Budowa
Długości wiązań pojedynczych S−OH wynoszą 1,574 Å, a podwójnych S=O – 1,422 Å, natomiast długości wiązań O−H to 0,97 Å[9].
Właściwości
Właściwości fizyczne
Bezwodny kwas siarkowy jest gęstą, oleistą cieczą cięższą od wody. Jego temperatura wrzenia wynosi ok. 337 °C. Temperatura topnienia, wynosząca 10,38 °C[2], znacząco obniża się w miarę rozcieńczania wodą i dla kwasu 65% wynosi −64 °C. Ma silne właściwości higroskopijne, pochłania wodę z otoczenia, a nawet z niektórych związków[13].
Kwas siarkowy miesza się z wodą. Procesowi towarzyszy wydzielanie dużych ilości ciepła, dlatego przy rozcieńczaniu kwasu należy zawsze wlewać kwas do wody, a nie odwrotnie. Z wodą tworzy azeotrop przy stężeniu 98,3% o gęstości 1,84 g/cm³ i temperaturze wrzenia 338 °C.
Właściwości chemiczne
Kwas siarkowy jest mocnym, silnie żrącym kwasem. Przy dodaniu minimalnych ilości wody ulega prawie całkowitej dysocjacji:
- H
2SO
4 + H
2O → H
3O+
+ HSO−
4
przy czym stała dysocjacji jest bardzo duża, czasami podawana jako ok. 10³[a].
Powstałe jony wodorosiarczanowe ulegają częściowej dysocjacji:
- HSO−
4 + H
2O ⇌ H
3O+
+ SO2−
4
której stała równowagi wynosi ok. 1,2×10−2.
Stężony kwas siarkowy jest kwasem silnie utleniającym, podobnie jak stężony kwas azotowy. Podgrzany do ok. 100 °C reaguje z miedzią i srebrem, z wydzielaniem dwutlenku siarki[14]:
- 2H
2SO
4 + Cu → CuSO
4 + SO
2↑ + 2H
2O - 2H
2SO
4 + 2Ag → Ag
2SO
4 + SO
2↑ + 2H
2O
W wyniku absorpcji w bezwodnym kwasie siarkowym jego bezwodnika kwasowego, tritlenku siarki, powstaje tzw. oleum, zawierające kwas pirosiarkowy:
- H
2SO
4 + SO
3 ⇌ H
2S
2O
7
Reaguje z solami słabszych i mniej lotnych kwasów (wypierając z nich resztę kwasową) i tlenkami metali, a także roztwarza wiele metali nieszlachetnych, jak cynk, nikiel, żelazo, a w roztworze rozcieńczonym także glin, które wypierają z niego wodór, przykładowo:
- H
2SO
4 + Zn → ZnSO
4 + H
2↑
w wyniku czego powstają siarczany (ewentualnie wodorosiarczany).
Kwas siarkowy niszczy strukturę białka oraz zwęgla większość związków organicznych zawierających tlen. Wynika to z faktu jego silnej higroskopijności – jeżeli w skład związków wchodzą wodór i tlen, to kwas „pobiera” pierwiastki tworzące wodę, w efekcie czego pozostaje sam węgiel[13]. Na skutek tego, w otwartym naczyniu czernieje w wyniku zwęglania pochłanianych zanieczyszczeń organicznych (np. kurzu). Śladowe ilości zwęglonych substancji organicznych odpowiadają także za ciemną barwę technicznego kwasu siarkowego.
„Bezwodny” kwas siarkowy jest cieczą polarną o stałej dielektrycznej równej w przybliżeniu 100. Wysoką przewodność elektryczną tłumaczy się szczególnie silną autodysocjacją, której ten kwas ulega:
- 2H
2SO
4 → H
3SO+
4 + HSO−
4
której stała wynosi 2,7×10−4. Dla porównania stała autodysocjacji wody wynosi 10−14. Nie jest on naprawdę bezwodny ze względu na równowagę powstawania kwasu pirosiarkowego z wytworzeniem wody:
- 2H
2SO
4 ⇌ H
2S
2O
7 + H
2O
Otrzymywanie kwasu siarkowego
Współcześnie kwas siarkowy otrzymuje się w przemyśle głównie metodą kontaktową. W metodzie tej można wyróżnić trzy podstawowe etapy:
- otrzymywanie SO
2 - utlenianie SO
2 do SO
3 (na katalizatorze wanadowym) - absorpcja SO
3 w oleum oraz stężonym kwasie siarkowym; część otrzymanych produktów rozcieńcza się i zawraca do absorberów, a reszta stanowi produkt końcowy
Otrzymywanie dwutlenku siarki

Dwutlenek siarki otrzymuje się przez spalanie siarki lub siarkowodoru albo prażenie siarczków (np. piryty, blenda cynkowa) lub siarczanów (np. gips, anhydryt)[15][16][17].
Spalanie siarki
Reakcję spalania siarki przedstawia równanie:
- S + O
2 → SO
2
Z podanego równania reakcji wynika, że z 1 mola zużytego tlenu otrzymuje się 1 mol SO
2. Spalanie siarki odbywa się bez zmiany objętości gazów.
Gdyby siarkę spalać nie w powietrzu, lecz w tlenie, to otrzymywałoby się czysty SO
2. W przypadku spalania w powietrzu sumaryczne stężenie wytworzonego ditlenku siarki i nie spalonego tlenu będzie zawsze równe 21%, czyli początkowemu stężeniu tlenu w powietrzu. Stężenie ditlenku siarki w gazach spalinowych wynosić może zatem maksymalnie 21%.
Przy produkcji kwasu siarkowego nie uzyskuje się podczas spalania siarki tak dużych stężeń SO
2. Po pierwsze dlatego, że im mniej tlenu pozostaje w gazach, tym reakcja spalania zachodzi wolniej. Do jej przeprowadzenia potrzebne byłyby więc piece o dużej objętości. Po drugie dlatego, że tlen potrzebny jest w gazach po to, aby w dalszej części instalacji przeprowadzić utlenianie ditlenku siarki do tritlenku. Spalając siarkę w omówionych niżej piecach otrzymuje się gaz zawierający 10–12% ditlenku siarki. Resztę stanowi azot i tlen.
- Rodzaje pieców do spalania siarki
Do spalania siarki stosuje się obecnie dwa typy pieców: wtryskowe i cyklonowe. Starszym typem jest piec wtryskowy. Jest to leżący walec z blachy stalowej wymurowany wewnątrz warstwami cegły żaro- i kwasoodpornej.
Ciekłą siarkę rafinowaną tłoczy się pompą zanurzeniową z topielnika przez filtr do zbiornika. Zbiornik ten jest ogrzewany, gdyż siarka musi pozostać ciekła. Tłoczy się ją następnie do palnika pieca wtryskowego. Stanowi on rodzaj dyszy śrubowej, przez którą siarka przeciska się dzięki ciśnieniu nadanemu jej przez pompę. Wokół tej dyszy wprowadza się suche powietrze tak, aby wpadało ono do komory pieca ruchem wirowym (sprawiają to blaszane łopatki kierujące). W środek tego wiru dysza „rozpyla” ciekłą siarkę na drobne kropelki, które w wysokiej temperaturze pieca powodują dodatkowe wymieszanie gazów, ułatwiając przez to całkowite spalanie par siarki. Wydzielone ciepło reakcji wykorzystuje się do produkcji pary wodnej. W tym celu zamontowane są rury, do których wprowadza się wodę zmiękczoną. Rury te tworzą tzw. ekran. Z tego względu piec nazywa się często ekranowym piecem wtryskowym.
W nowych fabrykach kwasu siarkowego nie buduje się już pieców wtryskowych, lecz piece zwane cyklonowymi. Ciekłą siarkę i powietrze doprowadza się w nich na obwodzie walca, po stycznej w sposób podobny do tego, w jaki doprowadza się gazy do cyklonu. Powietrze i siarka otrzymują energiczny ruch wirowy, mieszają się dużo lepiej niż w piecach wtryskowych, dzięki czemu spalanie zachodzi szybciej. Piece cyklonowe są znacznie mniejsze od wtryskowych, a ponadto możliwe było wprowadzenie w nich ulepszenia polegającego na doprowadzeniu powietrza między płaszcz stalowy i wymurówkę. W ten sposób jeszcze przed spaleniem powietrze ogrzewa się, co zwiększa szybkość spalania i równocześnie chłodzi płaszcz.
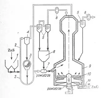
Prażenie siarczków
W czasie prażenia pirytu (FeS
2) i innych siarczków metali, np. blendy cynkowej (ZnS), przebiegają egzotermiczne reakcje[15][16]:
- piryt
- 4FeS
2 + 11O
2 → 8SO
2 + 2Fe
2O
3 - 3FeS
2 + 8O
2 → 6SO
2 + Fe
3O
4 - blenda
- 2ZnS + 3O
2 → 2SO
2 + 2ZnO


Utlenianie dwutlenku siarki
Podstawą produkcji kwasu siarkowego metodą kontaktową jest reakcja:
Reakcja jest odwracalna i przebiega ze zmniejszeniem objętości i wydzieleniem ciepła. Zgodnie z regułą przekory Le Chateliera-Brauna równowaga będzie się przesuwać na prawo w miarę obniżania temperatury i zwiększania ciśnienia.
Prowadzenie utleniania SO
2 pod podwyższonym ciśnieniem pozwoliłoby zwiększyć szybkość reakcji i zmniejszyć wymiary aparatury. Jednocześnie jednak budowa aparatury ciśnieniowej wymaga zastosowania materiałów o wyższej jakości, a ponadto staje się konieczne zamontowanie sprężarek gazowych. Pociąga to za sobą duże koszty inwestycyjne. Koszty eksploatacyjne są również wyższe z powodu zużycia energii na sprężanie. Z powyższych względów utlenianie SO
2 prowadzi się pod ciśnieniem atmosferycznym.
Aby reakcja utleniania SO
2 mogła przebiegać z szybkością zadowalającą dla celów przemysłowych, konieczne jest zastosowanie odpowiednich katalizatorów na podłożu stałym zwanych w żargonie przemysłowym „kontaktem”. Katalizatorem reakcji utleniania ditlenku siarki może być wiele substancji (platyna, V
2O
5, Cr
2O
3, Fe
2O
3, CuO[18]). Przyspieszają one tę reakcję w różnym stopniu. W efekcie wielu badań naukowych i doświadczeń przemysłowych stwierdzono, że najlepsze działanie katalityczne wykazuje platyna osadzona na azbeście (5–10% Pt). Pozwala ona uzyskać blisko 100% przemiany w temperaturze <450 °C[18].
Katalizator ten jest jednak stosunkowo drogi i bardzo łatwo ulega zatruciu. Stosuje się więc powszechnie tzw. kontakty wanadowe, które są tylko nieco mniej aktywne, ale za to tańsze i odporniejsze na zatrucie. Wanadowa masa kontaktowa składa się z właściwego kontaktu (V
2O
5), nośnika (krzemionka), aktywatorów (Na
2O, K
2O) i innych dodatków. Zawartość tlenku wanadu(V) waha się w granicach 5–7% masowych masy kontaktowej. Aktywatory stanowią 35%, a resztę, tj. ok. 60% – nośnik.
Kontakty wanadowe przyspieszają reakcje utleniania SO
2 dopiero w stosunkowo wysokiej temperaturze. Przemysłowe kontakty wanadowe zaczynają bowiem „pracować” (tzw. punkt zapłonu) w temperaturze wyższej od 380 °C do 400 °C. Maksymalny stopień przemiany rzędu 90% osiągają nieco powyżej 500 °C; dalsze podnoszenie temperatury obniża wydajność procesu[18].
Mechanizm utleniania SO
2 wobec katalizatora wanadowego nie jest ostatecznie wyjaśniony. Kontakt ten może ulegać zatruciu i traci aktywność. Truciznami są chlor, fluor, a przede wszystkim arsen. Groźba zatrucia jest o wiele mniejsza niż przy zastosowaniu kontaktu platynowego, który zatruwa się kilkadziesiąt tysięcy razy mniejszą ilością arsenu.
Absorpcja tritlenku siarki
Tritlenku siarki nie absorbuje się w wodzie, gdyż powodowałoby to duże jego straty w wyniku tworzenia się trudnej do skondensowania „mgły” kwasu siarkowego. Aby temu zapobiec, używa się jako absorbentu stężonego kwasu siarkowego, nad którym prężność pary wodnej jest znikoma.
Bogaty w SO
3 gaz z tzw. ekonomizera zostaje dodatkowo ochłodzony w chłodnicy powietrznej, a następnie przepływa kolejno przez dwie wieże absorpcyjne.
Wieża absorpcyjna jest zraszana 20% oleum. Absorpcja SO
3 w oleum jest egzotermiczna. Dla utrzymania właściwej temperatury doprowadza się więc oleum w takiej ilości, aby podczas przepływu przez wieżę wzrost jego stężenia nie przekroczył 1,5% początkowej wartości. Aby utrzymać stałe stężenie oleum (20%) w obiegu pierwszej wieży rozcieńcza się je powtórnie wprowadzając odpowiednie ilości stężonego 98% kwasu siarkowego, zwanego monohydratem, który pobiera się z obiegu drugiej wieży. Wytworzony podczas rozcieńczania nadmiar 20% oleum odprowadza się jako gotowy produkt.
Drugą wieżę zrasza się 98% kwasem siarkowym. Kwas ten tłoczy się w takich ilościach, aby przeciwprądowe zetknięcie z gazem zawierającym SO
3 nie spowodowało wzrostu stężenia większego niż 0,2% początkowej wartości. Stężenie kwasu siarkowego w obiegu drugiej wieży utrzymuje się dodając do niego odpowiednią ilość wody i 96% kwasu siarkowego. Wytworzony nadmiar monohydratu kieruje się do zbiorników magazynowych. W sumie więc końcowym produktem całego procesu jest 20% oleum oraz monohydrat – czyli kwas siarkowy 98%.
Zastosowanie
Kwas siarkowy ma bardzo duże znaczenie w różnych gałęziach przemysłu. Służy między innymi do produkcji innych kwasów, do wyrobu barwników, włókien sztucznych, środków wybuchowych, nawozów sztucznych. Używany jest też do oczyszczania olejów, nafty, parafiny i do osuszania gazów. Stosuje się go do produkcji środków piorących, leków oraz jako elektrolit w akumulatorach ołowiowych. Jest często używanym odczynnikiem w laboratoriach oraz w syntezie organicznej do sulfonowania oraz podczas nitrowania.
Producenci
Polscy producenci kwasu siarkowego to m.in. KGHM Polska Miedź[19], Grupa Azoty Zakłady Chemiczne „Police”[20], Zakład Górniczo Hutniczy Bolesław[21], Ciech, Avantor Performance Materials Poland, Nitroerg, Huta Cynku Miasteczko Śląskie[22] i Gdańskie Zakłady Nawozów Fosforowych „Fosfory”[23].
Regulacje prawne w Polsce
Kwas siarkowy może być wykorzystywany do produkcji narkotyków (otrzymywanie soli amin lub synteza prekursorów narkotyków) i w związku z tym znajduje się on na liście prekursorów narkotykowych kategorii 3. Zgodnie z ustawą o przeciwdziałaniu narkomanii i odpowiednimi rozporządzeniami obrót i użycie substancjami z kategorii 3. nie podlega obligatoryjnemu zgłaszaniu do Państwowej Inspekcji Sanitarnej. Instytucja ta ma jednak prawo wnioskować do podmiotów obracających kwasem siarkowym o dokonanie zgłoszenia[24].
Uwagi
- ↑ Stałe dysocjacji kwasów mocnych są podawane tylko w przybliżeniu i w pewnych szczegółowych warunkach. W dodatku nie przedstawiają wszystkich aspektów mocy kwasów tlenowych i w związku z tym nie są przez wszystkich uznawane.
- ↑ Konstrukcja pieców mechanicznych, stosowanych w prażalniach cynku na Górnym Śląsku, była oparta na pierwszych rozwiązaniach, opracowanych i zastosowanych w zakładach hutniczych w Trail (Kanada).
Przypisy
- 1 2 Farmakopea Polska IX, Polskie Towarzystwo Farmaceutyczne, Warszawa: Urząd Rejestracji Produktów Leczniczych, Wyrobów Medycznych i Produktów Biobójczych, 2011, s. 4574, ISBN 978-83-88157-77-6.
- 1 2 3 4 5 Haynes 2014 ↓, s. 4-92.
- 1 2 Farmakopea Polska X, Polskie Towarzystwo Farmaceutyczne, Warszawa: Urząd Rejestracji Produktów Leczniczych, Wyrobów Medycznych i Produktów Biobójczych, 2014, s. 4276, ISBN 978-83-63724-47-4.
- 1 2 3 4 Sulfuric acid, [w:] GESTIS-Stoffdatenbank [online], Institut für Arbeitsschutz der Deutschen Gesetzlichen Unfallversicherung, ZVG: 1160 [dostęp 2016-12-14] (niem. • ang.).
- ↑ Haynes 2014 ↓, s. 5-93.
- ↑ Haynes 2014 ↓, s. 4-137.
- ↑ Haynes 2014 ↓, s. 5-146.
- 1 2 Haynes 2014 ↓, s. 6-186.
- 1 2 Robert L. Kuczkowski, R.D. Suenram, Frank J. Lovas. Microwave spectrum, structure, and dipole moment of sulfuric acid. „Journal of the American Chemical Society”. 103 (10), s. 2561–2566, 1981. DOI: 10.1021/ja00400a013.
- 1 2 Kwas siarkowy, [w:] Classification and Labelling Inventory, Europejska Agencja Chemikaliów [dostęp 2015-04-10] (ang.).
- ↑ Sulfuric acid, 75% v/v aqueous solution, karta charakterystyki wydana na obszar Polski, Alfa Aesar (Thermo Fisher Scientific), numer katalogowy 42555 [dostęp 2016-12-14].
- 1 2 Sulfuric acid [online], CAMEO Chemicals, National Oceanic and Atmospheric Administration [dostęp 2016-12-14] (ang.).
- 1 2 A. Brusewicz, P. Jagodziński, R. Wolski: Metodyka Eksperymentu Chemicznego. Gimnazjum. Poznań: Uniwersytet im. Adama Mickiewicza, Wydział Chemii, Zakład Dydaktyki Chemii, 2008. ISBN 978-83-89723-63-8.
- ↑ M. Krzeczkowska, J. Loch: Chemia. Przewodnik Szkolny. ParkEdukacja. ISBN 978-83-7446-676-9.
- 1 2 3 Józef Zawadzki: Technologia chemiczna nieorganiczna, część druga. Warszawa: Ministerstwo Przemysłu i Handlu, Departament Szkolnictwa Zawodowego, 1949, s. 334–367, seria: Biblioteka Techniczna.
- 1 2 3 Siarczki metali i prażenie siarczków metali. W: Józef Kępiński: Technologia chemiczna nieorganiczna. Warszawa: PWN, 1964, s. 244–256. (pol.).
- ↑ Praca zbiorowa, Encyklopedia techniki – Chemia, wyd. 4, Warszawa: Wydawnictwa Naukowo-Techniczne, 1993, s. 670–672, ISBN 83-204-1312-5.
- 1 2 3 Zenon Sarbak, Reakcje i procesy katalityczne (cz. V). Synteza tritlenku siarki, „Laboratoria, Aparatura, Badania”, 15 (6), 2010, s. 34–40 [dostęp 2021-04-07].
- ↑ Inne produkty. kghm.com. [dostęp 2018-10-11].
- ↑ Kwas siarkowy [online], grupaazoty.com [zarchiwizowane z adresu 2016-03-04].
- ↑ Kwas siarkowy – karta charakterystyki [online], zghboleslaw.org [dostęp 2018-10-11].
- ↑ Kwas siarkowy techniczny – karta charakterystyki [online], www.hcm.com.pl [zarchiwizowane z adresu 2015-04-19].
- ↑ Kwas siarkowy [online], Gdańskie Zakłady Nawozów Fosforowych „Fosfory” [dostęp 2018-10-11] [zarchiwizowane z adresu 2018-05-04].
- ↑ Monika Zagrajek, Prekursory narkotykowe kat. 2 i 3 [online], Państwowa Inspekcja Sanitarna, 23 kwietnia 2012 [zarchiwizowane z adresu 2015-03-15].
Bibliografia
- CRC Handbook of Chemistry and Physics, William M. Haynes (red.), wyd. 95, Boca Raton: CRC Press, 2014, ISBN 978-1-4822-0867-2 (ang.).
Linki zewnętrzne
- Kwas siarkowy(VI), międzynarodowa karta bezpieczeństwa chemicznego, Międzynarodowa Organizacja Pracy (pol. • ang.).



